Strona główna
O firmie
Oferta
Realizacje
Aktualności
Do pobrania
Kontakt
';
Strona główna
Oferta
Obróbki blacharskie
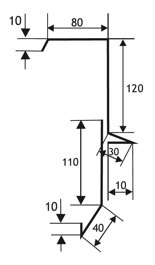
WIATROWNICA DO TRAPEZU
Specyfikacja techniczna:
Długość całkowita:
2000 [mm]
Rodzaj:
wiatrownica do trapezu